7*24咨询热线134 3099 8095 咨询热线0755-82767903

华为首次公开主芯片堆叠封装专利

来源:贴片电容 发布时间:2022-05-11 浏览:433

据国家知识产权局,5月6日,华为公布了一项关于“芯片堆叠封装结构及其封装方法、电子设备”的专利,涉及主芯片和多个副芯片的堆叠封装。


图片

图:华为专利信息


国家知识产权局信息显示,这项专利早在2019年10月30日就申请了,但时隔两年半才公开,发明人是张童龙、张晓东、官勇、王思敏。


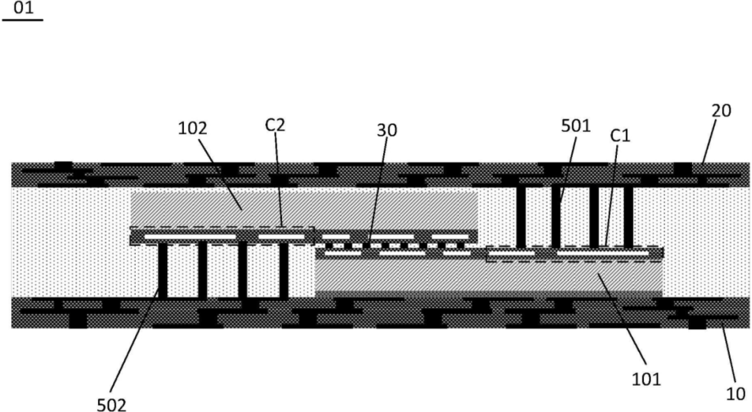
该专利描述了一种芯片堆叠封装结构及其封装方法、电子设备,涉及电子技术领域,用于解决如何将多个副芯片堆叠单元可靠的键合在同一主芯片堆叠单元上的问题。


这或许意味着,华为早在2019年就开始为绕开先进工艺、通过堆叠设计主芯片技术储备


图片

图:华为芯片堆叠封装专利


根据专利信息,华为描述的芯片堆叠封装结构包括:


1、主芯片堆叠单元(10),具有位于第一表面上的绝缘且间隔设置的多个主管脚(11);

2、第一键合层(20),设置于第一表面上;第一键合层(20)包括绝缘且间隔设置的多个键合组件(21);

3、多个键合组件(21)中的每个包括至少一个键合部(211),任意两个键合部(211)绝缘设置,且任意两个键合部(211)的横截面积相同;

4、多个键合组件(21)分别与多个主管脚(11)键合;

5、多个副芯片堆叠单元(30),设置于第一键合层(20)远离主芯片堆叠单元(10)一侧的表面;

6、副芯片堆叠单元(30)具有绝缘且间隔设置的多个微凸点(31);

7、多个微凸点(31)中的每个与多个键合组件(21)中的一个键合。


图片

图:华为芯片堆叠封装专利


而4月初,芯片大师曾报道首次公开!菊厂芯片堆叠技术来了,华为就已经公开了一种芯片堆叠封装及终端设备专利,涉及半导体技术领域,能够在保证供电需求的同时,解决因采用硅通孔技术而导致的成本高的问题。


而在3月底的华为2021年年报发布会上,华为轮值董事长郭平表示,未来华为可能会采用多核结构的芯片设计方案,以提升芯片性能,同时,采用面积换性能、用堆叠换性能的方法,使得不那么先进的工艺,也能持续让华为在未来的产品里面,能够具有竞争力。


此文关键词:华为首次公开主芯片堆叠封装专利