7*24咨询热线134 3099 8095 咨询热线0755-82767903

首次公开!菊厂芯片堆叠技术来了

来源:贴片电容 发布时间:2022-04-08 浏览:638

近日,HW公司首次公开了一项涉及芯片堆叠技术的发明专利。


图片

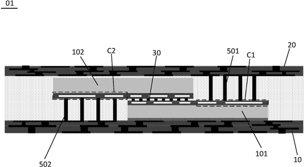
图:芯片堆叠技术专利


近日,根据国家知识产权局官网公开的信息,HW公司公开了一种芯片堆叠封装及终端设备专利,专利摘要显示,该专利是一种半导体封装技术,其能够在保证供电需求的同时,解决因采用硅通孔技术而导致的成本高的问题。


芯片大师曾报道海思升为一级部门,郭平:用堆叠、面积换性能,在被工艺制造困扰已久的芯片领域,HW在2022年做出了两个关键而影响深远的决定


一是提升海思在内部架构中的地位(二级变为一级),变相回应了外界对海思前景的担忧,作为中国大陆IC设计的一面旗帜,海思将再次在熟悉的逆境中厚积薄发。


二是首次公开宣布将芯片堆叠技术作为发展路径用堆叠、面积换性能是当前既合理又务实的选择,这一点同中芯国际类似,而在此之前HW作了为数不少的相关技术储备


图片

图:芯片堆叠依赖封装技术


实际上,芯片大师曾多次报道,HW公司近年来已经在陆续布局非先进工艺芯片(IGBT、车载摄像头和驱动IC等)和外围封装制造


有了解情况的人士就曾透露,此前HW对外公开的芯片技术专利,和此前曝光的“双芯叠加”技术(即芯片堆叠技术)相关,包含了3D封装、异构等等都在这个专利范围之内。


图片

图:3D封装中的芯片堆叠


2021年12月,HW公司还投资6亿元成立了一家电子制造的全资子公司,工商信息显示,该企业名为HW精密制造有限公司,经营范围为光通信设备制造,光电子器件制造,电子元器件制造和半导体分立器件制造


当时就有HW内部人士称,该公司具备一定规模的量产和小批量试制(能力),但主要用于满足自有产品的系统集成需求。不生产芯片主要是部分核心器件、模组、部件的精密制造


同时,经营范围中提及的“半导体分立器件“主要是分立器件的封装、测试。如此来看,HW内部对芯片堆叠路线早有清晰的规划,同时已经投入制造环节。



此文关键词:首次公开!菊厂芯片堆叠技术来了